
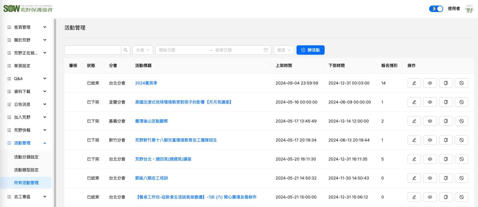
篩選功能:
| 項目 | 說明 |
| 活動名稱(輸入框) | 提供管理者依活動名稱模糊比對,搜尋活動。 |
| 分會 | 提供管理者依活動辦理的分會,搜尋活動。 |
| 上架時間區間 | 提供管理者依活動上下架時間區間,搜尋活動。 |
| 活動狀態進度 | 提供管理者依活動當下的進度,搜尋活動。 |
列表操作功能:
| icon | 說明 |
| <img> 審核 | 當管理者將活動送出申請,有審核權限者,需審核該活動是否核准上架,點選『核准』該活動的狀態將異動為『待上架』,到上架時間後,系統會將該活動顯示於使用者前台。 反之,若選『駁回』則該活動不能上架,狀態變成『未通過』,管理者可進行編修後,重新送出申請。 |
| <img>(鉛筆) | 點選後,可編輯活動的使用者前台內容。 |
| <img>(眼睛) | 點選後,可預覽活動的使用者前台介面。 |
| <img>(複製) | 點選後可複製所選活動的所有設定至新的活動。 |
| <img>(下架) | 點選後可將所選的上架中的活動下架。 |
| <img>(垃圾桶) | 點選後該活動將被刪除。 僅在狀態為:『待審核』、『待上架』、『未通過』、『已下架』的狀態,可被刪除。 |